廢水處理專用流量計在供水流量測量領域中的運用分析
點擊次數:2973 發布時間:2021-09-08 03:05:15
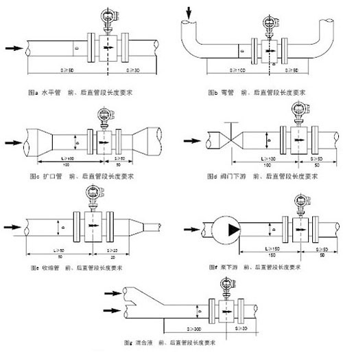
在目前的供水領域中,用于管道的流量測量的儀表普遍使用的儀表都在采用廢水處理專用流量計,對于供水計量儀表的選擇,對保證供水、準確計量及建設成本核算至關重要,廢水處理專用流量計作為一種有著廣泛適應性的流量測量儀表,在用于供水管道測量中有著顯著的優勢。經過近幾年實際運行和觀察對比,我們認為污水廢水處理專用流量計明顯優于其他計量儀表。在實際應用中,經常會出現因用戶用水性質造成管內水流速度較低,進而不能滿足廢水處理專用流量計對流速范圍的要求,所以這時候就需要對管道進行變徑處理。本文針對于廢水處理專用流量計在測量需要變徑的情況,結合實際工作中市政給水接駁工程的設計、施工,就供水流量計水表組設計中表徑選擇的一些特例做一個簡要的介紹。

我們在對用戶用水接駁設計中發現,根據用戶用水量選擇管徑或表徑時,出現一些因用水性質不同而需要綜合考慮的情況。如開發區某新建醫療器械廠,用水分為生產用水、生活用水和消防用水,其中辦公、生產*大用水量為7.62m3/h,未預見水量按15%計為1.14m3/h,空調補充水量5m3/h,合計*大用水量為14.76m3/h。按照生產、生活用水量,應安裝一組DN80水表組,此時管內水流速度為0.83m/s。
根據消防部門的批復,企業廠房的火災危險性為丙級,需安裝室內外消火栓。設計院的設計是建設一個200m3消防水池,儲水量滿足室內消防用水量。室外消防用水由市政管直供水的室外環管網提供。消火栓用水量:室外消火栓用水量30L/s;室內消火栓用水量20L/s。根據消防要求規定及規范,應安裝一組DN150水表組。
生產、生活及消防用水若合裝一個DN150供水流量計水表組,依據消防規范中當生產、生活用水達到*大用水量時仍然要保證消防用水量的原則進行管網消防校核,所需的消防水量和水壓滿足要求。消防用水只在火災時使用,當平時消防系統未啟動時,管內供給企業的主要是生產、生活用水,此時管內水流速度為0.22m/s<0.3m/s,不能滿足供水流量計對流速范圍的要求,即不能對生產企業用水量實行準確計量,這是供水企業所不愿意的。這種因用水性質造成管內水流速度不匹配而需用戶安裝兩組計量儀表的事例在實際工作中是經常能遇到的。我們的解決辦法是:

1.市政給水接駁時的管材、管件及閥門等直徑按系統合用后的參數選定,選擇傳感器直徑比接駁管徑尺寸小的廢水處理專用流量計,管徑、表徑不一致,管徑大、表徑小,安裝連接時傳感器前后加接異徑管。其結果是在供水流量計部分局部提高了流速,滿足了儀表對流速范圍的要求,使供水企業在可以對用水量進行準確計量的前提下二合一,企業節省了一套計量裝置的投資費用。如上述醫療器械廠安裝的水表組構成為管材及閘閥、止回閥直徑為DN150,供水流量計為DN100的計量裝置,此時傳感器部分的水流速度為0.47m/s>0.3m/s。
2.異徑管需滿足錐度要求。供水流量計的入口與出口的直線管段有長度要求,傳感器前后加接的異徑管,若要視為直管段的一部分,應符合產品關于傳感器前后管段漸擴或漸縮的圓錐角小于15°的要求。因此這種做法必須進行異徑管中心圓錐角計算,如上述DN100供水流量計入口與出口處,依據《給水排水標準圖集》加工制作的DN150×100的異徑管,其中心圓錐角計算后為11.74°<15°。
3.異徑管無法滿足錐度要求,必須訂制加長的漸擴或漸縮管。如開發區某大型外資企業依據其用水量原設計選擇DN600供水流量計水表組,企業向供水中心提出水表組的建設費用,以及因供水流量計直管段的要求使水表房過于狹長的緣故,我們考慮采用選擇小一級甚至二級管徑尺寸的供水流量計,水流速度均在其允許范圍內。依據標準圖集異徑管尺寸計算,DN600×400異徑管中心圓錐角為20.42°,DN600×500異徑管中心圓錐角為16.03°,均大于15°,不符合產品設計要求。因此必須訂制非標的漸擴或漸縮管,加長異徑部分的長度,使中心圓錐角減少到錐度要求以內。
總之,廢水處理專用流量計用于供水計量時,由于其傳感器有流速要求,但流速范圍又較寬的特點,設計人員便可以依據用戶用水量和現場的實際情況,作出一些靈活的變化,這樣既節省了水表組的投資,又使測量儀表運行在較好的工作狀態。
制藥廢水流量計在鎢礦選廠生產自動化監控系統中的應用
廢水處理專用流量計在供水流量測量領域中的運用分析
廢水流量計可以解決惡劣環境下的可讀性問題
淺析工業污水印染廢水流量計在自動配料控制系統中的應用
彎管出口流速畸變對廢水流量計的影響
關于防爆電路在電鍍廢水流量計中的應用
印染廢水流量計的抗干擾措施及其效果分析
影響廢水流量計測量精度的安裝與選型三大因素
廢水流量計價格在工業應用中的工作原理及產品特點
如何使用電鍍廢水流量計在工業應用中保護泵機全力運行
環形電源廢水流量計廠家*大限度地提高了能量流量
生活廢水流量計的抗干擾措施及其效果分析
化工生產裝置中高精度廢水流量表選型指導原則簡介
制藥廢水流量計在醋酸生產行業使用時常見問題分析
基于廢水處理流量計的電極干擾信號仿真研究
廢水處理流量計規格對其流量測量的影響
淺析廢水流量計廠家用于氯堿工業生產中的特點
淺談酸堿廢水流量計在重金屬廢水自動監測系統中的應用
對于如何縮短污水處理廢水管道流量計安裝時間的研究分析
化工廢水流量計廠家在我國污水處理廠現狀和前景
廢水流量計監測數據有效性判別技術的研究
如何有效提高污水處理廢水流量計使用電磁兼容性的研究分析
污水處理廢水流量計在航空工業應用領域中的關鍵作用
廢水流量計對于測量流體介質溫度影響分析說明
處理污水處理廢水流量計現場故障的措施與標準步驟
高溫導致生活廢水流量計測量精確度下降的原因分析
存儲式紡織廢水流量計誤差產生的原因分析及預防辦法
常用污染源廢水流量測量技術原理與選用
電鍍廢水流量計,廢水流量計價格
印染廢水流量計,廢水流量計廠家

我們在對用戶用水接駁設計中發現,根據用戶用水量選擇管徑或表徑時,出現一些因用水性質不同而需要綜合考慮的情況。如開發區某新建醫療器械廠,用水分為生產用水、生活用水和消防用水,其中辦公、生產*大用水量為7.62m3/h,未預見水量按15%計為1.14m3/h,空調補充水量5m3/h,合計*大用水量為14.76m3/h。按照生產、生活用水量,應安裝一組DN80水表組,此時管內水流速度為0.83m/s。
根據消防部門的批復,企業廠房的火災危險性為丙級,需安裝室內外消火栓。設計院的設計是建設一個200m3消防水池,儲水量滿足室內消防用水量。室外消防用水由市政管直供水的室外環管網提供。消火栓用水量:室外消火栓用水量30L/s;室內消火栓用水量20L/s。根據消防要求規定及規范,應安裝一組DN150水表組。
生產、生活及消防用水若合裝一個DN150供水流量計水表組,依據消防規范中當生產、生活用水達到*大用水量時仍然要保證消防用水量的原則進行管網消防校核,所需的消防水量和水壓滿足要求。消防用水只在火災時使用,當平時消防系統未啟動時,管內供給企業的主要是生產、生活用水,此時管內水流速度為0.22m/s<0.3m/s,不能滿足供水流量計對流速范圍的要求,即不能對生產企業用水量實行準確計量,這是供水企業所不愿意的。這種因用水性質造成管內水流速度不匹配而需用戶安裝兩組計量儀表的事例在實際工作中是經常能遇到的。我們的解決辦法是:

1.市政給水接駁時的管材、管件及閥門等直徑按系統合用后的參數選定,選擇傳感器直徑比接駁管徑尺寸小的廢水處理專用流量計,管徑、表徑不一致,管徑大、表徑小,安裝連接時傳感器前后加接異徑管。其結果是在供水流量計部分局部提高了流速,滿足了儀表對流速范圍的要求,使供水企業在可以對用水量進行準確計量的前提下二合一,企業節省了一套計量裝置的投資費用。如上述醫療器械廠安裝的水表組構成為管材及閘閥、止回閥直徑為DN150,供水流量計為DN100的計量裝置,此時傳感器部分的水流速度為0.47m/s>0.3m/s。
2.異徑管需滿足錐度要求。供水流量計的入口與出口的直線管段有長度要求,傳感器前后加接的異徑管,若要視為直管段的一部分,應符合產品關于傳感器前后管段漸擴或漸縮的圓錐角小于15°的要求。因此這種做法必須進行異徑管中心圓錐角計算,如上述DN100供水流量計入口與出口處,依據《給水排水標準圖集》加工制作的DN150×100的異徑管,其中心圓錐角計算后為11.74°<15°。
3.異徑管無法滿足錐度要求,必須訂制加長的漸擴或漸縮管。如開發區某大型外資企業依據其用水量原設計選擇DN600供水流量計水表組,企業向供水中心提出水表組的建設費用,以及因供水流量計直管段的要求使水表房過于狹長的緣故,我們考慮采用選擇小一級甚至二級管徑尺寸的供水流量計,水流速度均在其允許范圍內。依據標準圖集異徑管尺寸計算,DN600×400異徑管中心圓錐角為20.42°,DN600×500異徑管中心圓錐角為16.03°,均大于15°,不符合產品設計要求。因此必須訂制非標的漸擴或漸縮管,加長異徑部分的長度,使中心圓錐角減少到錐度要求以內。
總之,廢水處理專用流量計用于供水計量時,由于其傳感器有流速要求,但流速范圍又較寬的特點,設計人員便可以依據用戶用水量和現場的實際情況,作出一些靈活的變化,這樣既節省了水表組的投資,又使測量儀表運行在較好的工作狀態。


